1. 概述
Xilinx JTAG-HS3是 XILINX 的USB转JTAG的高速仿真器,可以下载、烧录和仿真Xilinx FPGA和CPLD芯片,以及配置PROM、FLASH。
目前也可以兼任国产的复旦微FPGA的烧录和仿真,以及兼容国产易灵思的烧录仿真功能。

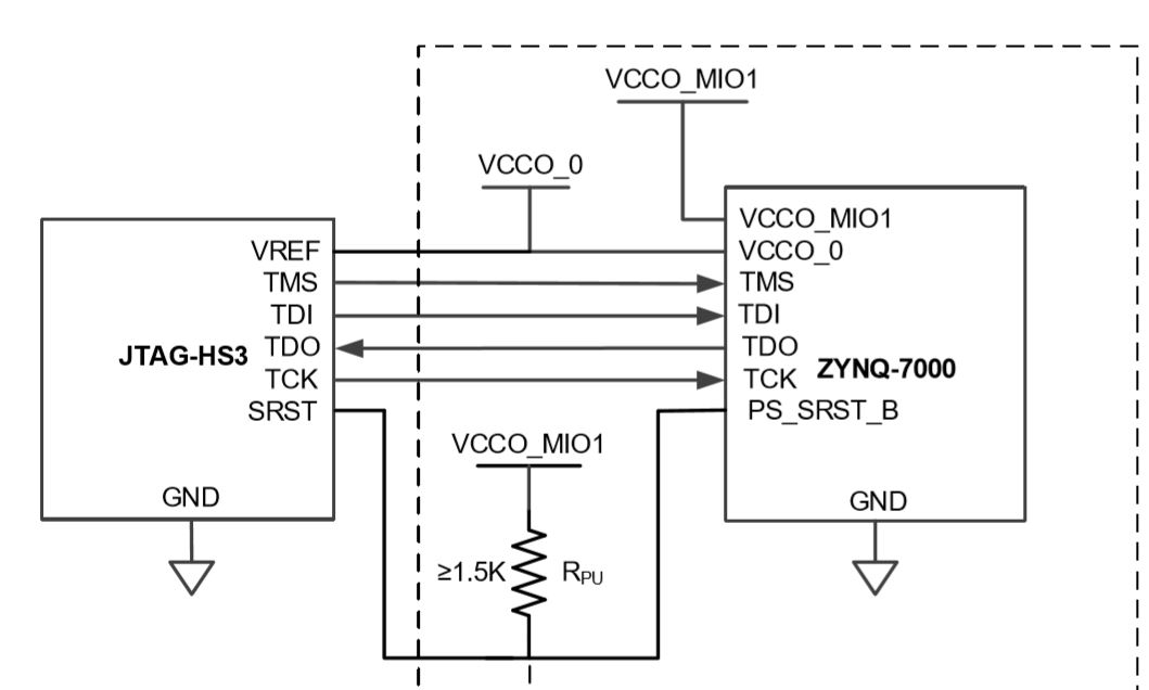
Xilinx JTAG-HS3 比Platform Cable USB II下载器快10倍速度。USB是高速USB2.0接口,可以在30Mbit/秒下驱动JTAG/SPI总线,并且能实现对Xilinx ZYNQ平台处理器核的重置。
可以支持ZYNQ的硬件复位,跟FPGA的不同的配置电压。注意要在复位加上拉电阻。

Xilinx JTAG-HS3和Platform Cable USB 速度对比在
https://baijiahao.baidu.com/s?id=1771635480351933059
这个是Platform Cable USB II 的时间1分钟3秒

这个是XJTAG-HS3的速度。17秒时间。

2. 产品特点:
Xilinx JTAG-HS3 产品有以下的特点:
单独的基准电压来驱动JTAG信号电压。
强大缓冲器,能支持长达1M线缆驱动。
VREF基准电压宽电压可以是在1.2V-5V,支持更低的电压。
USB2.0接口,在极速模式30Mbit/s下驱动JTAG总线。
比Platform Cable USB II下载器 快10倍速度。
采用USB TYPE-B连接器,结实耐用。
能实现对Xilinx ZYNQ平台处理器核的重置,方便调试。
带高阻态保护,热插拔保护芯片。
能支持芯片加密,增强芯片安全。
独立ID,支持多个同时在线
支持复旦微FPGA芯片开发。
支持国产易灵思FPGA的烧录和仿真。
3. 支持的芯片类型
Xilinx JTAG-HS3支持下列的Xilinx芯片类型
易灵思芯片:
Trion系列:
T4, T8, T13,T20, T35,T55,T85,T120系列
钛金系列:
Ti35, Ti60,Ti90, Ti120 ,Ti180,TJ180,TJ135,TJ240,TJ375
4. 开发软件
Xilinx JTAG-HS3是用于Xilinx的ISE(Impact,ChipScope,EDK)和Vivado工具。当前ISE和Vivado内嵌的驱动,库,插件都是可以支持Xilinx JTAG-HS3工具。
Xilinx JTAG-HS3目前能完全支持软件是ISE14.1以及以上版本,还有Vivado2013.3以及最新的版本。
软件下载地址:https://www.xilinx.com/support/download.html
单独Vivado烧录软件下载地址:
链接:https://pan.baidu.com/s/1_9MwQOBX0NNQv3XrX6-uaA
提取码:7dou
驱动单独下载地址:
链接: https://pan.baidu.com/s/1cO7YpDN6hxqvyjYwITrCFQ
提取码: 5y7y
vivado最全的全家桶下载地址:
https://pan.baidu.com/s/1P_pWAxi6Yvm0_pLmv2hgUA?pwd=9527
关于易灵思:
T20 T35 Ti60请用Efinity 2023.2: (推荐2023.2版本,先安装2023.2,再安装补丁)
Efinity 2023.2:https://pan.baidu.com/s/1uPBxhMF0Tq4quTW6nwW5CQ?pwd=fpga
Gtkwave:https://pan.baidu.com/s/1g2X5e2JfUOo-ODRpibyovw?pwd=fpga
Tj135 Tj180 Tj375请用2024.1:
Efinity 2024.1:https://pan.baidu.com/s/1uGZGI-qvHJbt7zkDoUO4hw?pwd=fpga
Primus 2024.1:https://pan.baidu.com/s/1bXFQ3er-27VCVeG7rS749w?pwd=fpga
因易灵思使用libusb驱动,会造成其他的软件无法设别FTDI相关芯片,如果要卸载易灵思,请安装如下的驱动:
USBCableDriver.rar
链接:https://pan.baidu.com/s/1XdoQlHBhO0W44vbzoPsnAQ?pwd=83q5
5. 产品文档
产品说明书:
HS3.pdf
6.包装清单:
1. Xilinx JTAG-HS3烧录器
2. USB 线缆。
3. 双排2.0mm 2X7 2.54 2*7和单排一起的转接头

4. 2.54mm 14P灰色线缆。
5. 2.54mm 10P灰色线缆
6. 2.00mm 14P 灰色线缆。
7. 7P单排国标线缆。

7.保修:
产品提供7天内提供退换货服务。3年保修政策。
8.常见问题解答:
针对常见的问题:
1) Xilinx JTAG-HS3 能支持ise ?
能支持ise14.0以上的版本。因为ISE在windows10需要安装虚拟机windows7,才能支持该设备。在windows 10开发,现在都是用vivado的软件,vivado软件只能支持芯片7以上系列, 所以3系列和6系列是不支持。
2) Xilinx JTAG-HS3 需要安装驱动?
驱动在Vivado和ISE都是自带。如果没有安装,请在" 安装版本 \data\xicom\cable_drivers t64\digilent"安装install_digilent.exe,用管理员模式安装。
驱动单独下载地址:
链接: https://pan.baidu.com/s/1cO7YpDN6hxqvyjYwITrCFQ
提取码: 5y7y
3) Xilinx JTAG-HS3 能在linux运行?
能运行。vivado可以直接安装在linux上面,该驱动也能支持。
4) Xilinx JTAG-HS3 跟其他的SMT2,HS2有什么区别?
JTAG-HS3速度也是30Mb/s速度,其他SMT2,HS2也是一样的速度。JTAG-HS3优势在于可以支持ZYNQ的不同电压复位。
本公司开发的XJTAG-HS3,能更能保护芯片,支持热插拔功能。
5)Xilinx JTAG-HS3 转接头是什么规格?
对接烧录盒子是 2*7 2.54MM的公头,正面是2*7P的 2.0MM的母头、2*5P的2.54的母头,1*8P单排2.54单端母头。 正面都是对接线缆。
2.0mm 2*7P普通灰色升级成2.0mm 2*7P 窄头线缆,兼容Xilinx的 Platform usb接口。
9.订购货物:
线下订货信息:
产品型号 |
Xilinx JTAG-HS3 |
线上购买:
京东购买地址(点此)
Copyright © 2002-2024 深圳市飞录科技版权所有 Powered by EyouCms 备案号:粤ICP备2020086296号